R Lang & Associates


          HOME                      ABOUT                      SPACE & AVIATION                     MEDICAL SCIENCE


How Things Fly – More Principles of Aerodynamics

01-22-15

Winged-aircraft require the force of Lift to oppose their Weight due to gravity, enabling them to fly through the atmosphere.  Lift and Weight are considered vector quantities, meaning they have a direction and scalar (number) to describe them.  The Lift and Weight force must be in equilibrium in order for aircraft to fly straight and level through the air.  In other words, the vector (arrow) of each must be opposite one another and have the same size: 

Because of the optimization involved, the pitch-up maneuver is one that needs to be thought out ahead before executing.




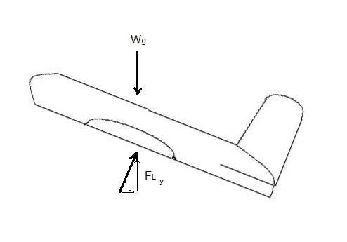
When an aircraft pitches up to gain altitude, the situation changes regarding the Lift force:


 

The Weight is still pointing down towards the ground - which is the same amount - but the aerodynamic Lift force which remains perpendicular to the wing is not really opposing the Weight anymore.  Only its vertical component, FLy , is opposing the Weight which is a smaller arrow (smaller amount of Lift).  Even though the aircraft is pitched upward with a velocity to gain altitude, it will also start to fall downward because the Weight arrow is now bigger than the vertical Lift arrow.  If the Weight vector wins out - it is called a stall.

The Lift and Weight force must be in equilibrium in order for aircraft to fly straight and level through the air.

However, the loss of Lift can be compensated by either speeding the aircraft up (to gain more overall lift) or to extend its flaps slightly, increasing the size of the wing and therefore increase the overall lift.  These ways of compensating are to bring vertical Lift force back to the same size as the Weight force.

The scenario may not always be so simple and could involve some give-and-take.  If, during pitch-up, the velocity of the aircraft is considered sufficient over the loss of vertical lift, it will still be able to climb to altitude because the downward fall is little in comparison. Hopefully, the pitch angle is not too steep and this will become the scenario.  Whenever possible, it is best to speed the aircraft up to acquire more overall lift and therefore balance the weight vector.  Using flap extension can introduce an additional drag force reducing forward speed, so this is not usually the first preference.  Increasing the speed to perform a climb seems the best choice, but the aircraft will need enough extra throttle in reserve.

Because of the optimization involved, the pitch-up maneuver is one that needs to be thought out ahead before executing.  If things don’t add up, the Weight force can get the best of the physical forces, and begin a straight-down descent, or a stall.  If rough air is present, this makes it all the more difficult in choosing the optimal parameters.  It would be best to keep the pitch angle shallow and bail-out (level off) whenever rough air indicates trouble, then restart the climb again when it is safe.  If the air is so rough, indicating an obvious storm, the pilot should consider turning completely around and giving up on the flight.  The pilot-in-command is considered to have this right above all authority in the event of an emergency. 

Sometimes the rate-of-climb, often given in feet per minute, is partly used to describe the aircraft’s performance - but which is more or less an “outside observation” - and not really the important parameter for understanding the aerodynamic stall.  Keeping track of the Lift force and whatever affects it, such as angle of pitch, forward velocity, and drag forces are the critical variables.

Understanding the stall phenomenon is so critical to flying that before a new pilot-in-training can even open a book, he will be warned of this basic hazard to aircraft safety.